Exercice Micromètre : Métrologie Mécanique 0,01mm

Telechargé par nadegeakogbeto
Instruments Métrologie Mécanique
Page 1/1
Exercice Micromètre 0,01mm
Nom:
Filière: Date:
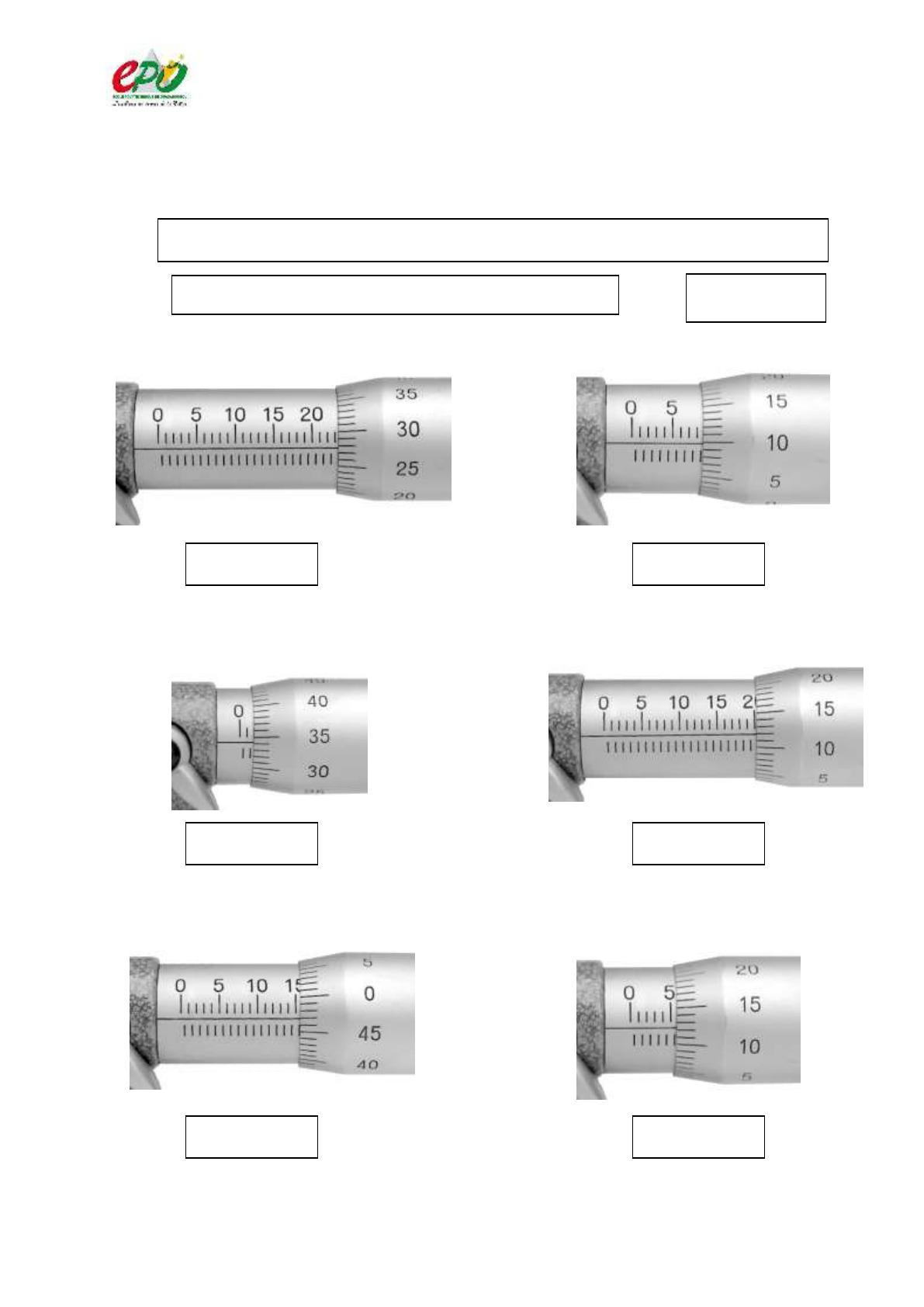
A) B)
C) D)
E) F)
AKOGBETO Audrey Nadege Fifame
IGSIT GENIE MECANIQUE I
16/06/2023
23,27mm
9.60mm
1.84mm
20,12mm
15,47mm
5,62mm
1 / 1 100%
La catégorie de ce document est-elle correcte?
Merci pour votre participation!

Faire une suggestion

Avez-vous trouvé des erreurs dans l'interface ou les textes ? Ou savez-vous comment améliorer l'interface utilisateur de StudyLib ? N'hésitez pas à envoyer vos suggestions. C'est très important pour nous!